Laws of MotionHard
Question
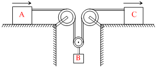
Block A and C start from rest and move to the with acceleration aA = 12t m/s2 and aC = 3 m/s2 . here t is in seconds. The time when block B again to rest is

Options
A.2s
B.1s
C.
s
D.
s
Solution
Block B will again comes to rest if
vA = vc i.e. 3t = (12t)t/2 ⇒ t =
s
vA = vc i.e. 3t = (12t)t/2 ⇒ t =
Create a free account to view solution
View Solution FreeMore Laws of Motion Questions
The system is pushed by a force F as shown in figure. All surface are smooth are smooth except between B ans C. Friction...A given object takes n times as much time to slide down a 45o rough incline as it takes to slide down a perfectly smooth...A block tied between two springs is in equilibrium. If upper spring is cut then the acceleration of the block just after...An object with a mass 10 kg moves at a constant velocity of 10 m/sec. A constant force then acts for 4 seconds on the ob...A body of mass M is acted upon by a force F and the acceleration produced is a. If three coplanar forces each equal to F...